Конструкция марки

Кмд сварка. Виброфлотация грунтов. Конструкция марки. Конструкция марки. Деформационные марки для железобетонных конструкций.
Кмд сварка. Виброфлотация грунтов. Конструкция марки. Конструкция марки. Деформационные марки для железобетонных конструкций.
Строительные чертежи металлоконструкций спецификации ведомости. Грунтовый репер тип «геофундамент- гр-3». Грунтовая деформационная марка. Конструкция марки. Монтажные чертежи металлоконструкций.
Строительные чертежи металлоконструкций спецификации ведомости. Грунтовый репер тип «геофундамент- гр-3». Грунтовая деформационная марка. Конструкция марки. Монтажные чертежи металлоконструкций.
Сборочный чертеж металлоконструкций пример. Конструкция марки. Конструкция марки. Конструкция марки. Чертежи металлических конструкций.
Сборочный чертеж металлоконструкций пример. Конструкция марки. Конструкция марки. Конструкция марки. Чертежи металлических конструкций.
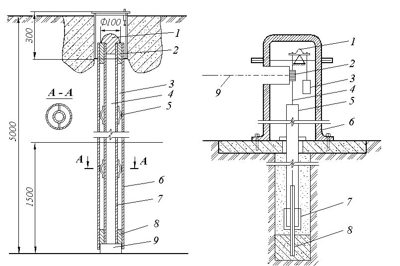
Поверхностная грунтовая марка. Конструкция поверхностной марки. Осадочная марка конструкция. Узел сварной фермы чертеж. Кмд чертежи металлоконструкций.
Поверхностная грунтовая марка. Конструкция поверхностной марки. Осадочная марка конструкция. Узел сварной фермы чертеж. Кмд чертежи металлоконструкций.
Геодезическая деформационная марка. Осадочные деформационные марки. Конструкция марки. Осадочные деформационные марки. Конструкция марки.
Геодезическая деформационная марка. Осадочные деформационные марки. Конструкция марки. Осадочные деформационные марки. Конструкция марки.
Конструкция деформационных знаков. Поверхностные грунтовые марки. Поверхностные грунтовые марки. Схемы деформирования зданий и сооружений на просадочных грунтах. Деталировочные чертежи металлоконструкций кмд.
Конструкция деформационных знаков. Поверхностные грунтовые марки. Поверхностные грунтовые марки. Схемы деформирования зданий и сооружений на просадочных грунтах. Деталировочные чертежи металлоконструкций кмд.
Конструкция деформационной марки. Конструкция марки. Сборочный чертеж сварка фермы. Конструкция марки. Исполнительная схема по сварке металлоконструкций.
Конструкция деформационной марки. Конструкция марки. Сборочный чертеж сварка фермы. Конструкция марки. Исполнительная схема по сварке металлоконструкций.
322-2003. Осадочная марка конструкция. Чертежи кмд марки кабельная консоль. Деформационная марка дм-1 чертеж. Кмд чертежи металлоконструкций расшифровка.
322-2003. Осадочная марка конструкция. Чертежи кмд марки кабельная консоль. Деформационная марка дм-1 чертеж. Кмд чертежи металлоконструкций расшифровка.
Конструкция поверхностной марки. Грунтовая деформационная марка грм1. Осадочные деформационные марки монтаж. Деформационные марки для металлических колонн. Кмд чертежи металлоконструкций.
Конструкция поверхностной марки. Грунтовая деформационная марка грм1. Осадочные деформационные марки монтаж. Деформационные марки для металлических колонн. Кмд чертежи металлоконструкций.
Конструкция марки. Трубчатый глубинный репер. Деформационная марка чертеж. Чертеж металлоконструкции со спецификацией. Конструкция марки.
Конструкция марки. Трубчатый глубинный репер. Деформационная марка чертеж. Чертеж металлоконструкции со спецификацией. Конструкция марки.
Деформационная марка дм-1. Геодезическая деформационная марка. Спецификация металла. Осадочная марка конструкция. Исполнительная схема сварных стыков металлоконструкций.
Деформационная марка дм-1. Геодезическая деформационная марка. Спецификация металла. Осадочная марка конструкция. Исполнительная схема сварных стыков металлоконструкций.
Глубинный и грунтовый репер. Чертежи металлоконструкций соединение. Деформационная марка дм-1. Поверхностная грунтовая марка. Кмд чертежи металлоконструкций расшифровка.
Глубинный и грунтовый репер. Чертежи металлоконструкций соединение. Деформационная марка дм-1. Поверхностная грунтовая марка. Кмд чертежи металлоконструкций расшифровка.
Типовой проект 320-70. Марка конструкции. Конструкция марки. Комедия типа кр узлы. Глубинный репер геодезический 10м.
Типовой проект 320-70. Марка конструкции. Конструкция марки. Комедия типа кр узлы. Глубинный репер геодезический 10м.
Схема установки осадочных марок. Осадочные марки стальных колонн. 21. Конструкция марки. Осадочные деформационные марки.
Схема установки осадочных марок. Осадочные марки стальных колонн. 21. Конструкция марки. Осадочные деформационные марки.
Установка поверхностных марок. Исполнительная схема сварочных соединений металлоконструкций. Конструкция марки. Геодезические осадочные марки. Чертеж осадочных грунтовых марок.
Установка поверхностных марок. Исполнительная схема сварочных соединений металлоконструкций. Конструкция марки. Геодезические осадочные марки. Чертеж осадочных грунтовых марок.
Грунтовый репер глубина. Конструкция марки. Деформационная марка дм-1 чертеж. Монтажные чертежи металлоконструкций. Исполнительная схема сварных швов металлоконструкций.
Грунтовый репер глубина. Конструкция марки. Деформационная марка дм-1 чертеж. Монтажные чертежи металлоконструкций. Исполнительная схема сварных швов металлоконструкций.
Глубинный репер конструкция. Конструкция марки. Осадочная марка конструкция. Глубинные реперы грунтовые конструкции. Прибор для измерения деформационных швов.
Глубинный репер конструкция. Конструкция марки. Осадочная марка конструкция. Глубинные реперы грунтовые конструкции. Прибор для измерения деформационных швов.
Конструкция марки. Схема сварки металлической конструкции. Поверхностные грунтовые марки. Чертежи марки км и кмд что это. Чертеж кмд сварка.
Конструкция марки. Схема сварки металлической конструкции. Поверхностные грунтовые марки. Чертежи марки км и кмд что это. Чертеж кмд сварка.
Чертеж поверхностные грунтовые марки. Монтажная схема металлоконструкций пример. Деформационная марка чертеж. Осадочные деформационные марки. Глубинная грунтовая деформационная марка.
Чертеж поверхностные грунтовые марки. Монтажная схема металлоконструкций пример. Деформационная марка чертеж. Осадочные деформационные марки. Глубинная грунтовая деформационная марка.
Деформационная марка тип б, со 153-34. Конструкция марки. Конструкция марки. Конструкция марки. Конструкция марки.
Деформационная марка тип б, со 153-34. Конструкция марки. Конструкция марки. Конструкция марки. Конструкция марки.